Microsoft’un aldığı yeni patent, mobil pazarda büyük değişimlere yol açacağa benziyor.
Geçtiğimiz günlerde Microsoft, Birleşik Devletler Patent kurumundan mobil cihazlar için multi boot teknolojisine dair yeni bir patent aldı. Mobil cihazlar için multi boot teknolojisi ilk defa duyulan bir şey olmasa da, Microsoft’un aldığı yeni patent, multi boot teknolojisine farklı bir bakış açısı sunmayı amaçlıyor. Daha önceden Microsoft mühendisleri, Windows Phone cihazlarda Android çalıştırılabilmişlerdi. Görünüşe bakılırsa yeni patent ile bundan çok daha fazlasına sahip olmamız mümkün olacak.
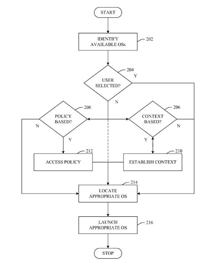
Microsoft’un aldığı patent ile birlikte uygulamaya koymayı amaçladığı proje, sadece birden fazla işletim sisteminin aynı mobil cihazda çalışmasını sağlamıyor. Patentte belirtilen yeniliğe göre bu proje sayesinde kullanıcılar, boot etmek istedikleri işletim sisteminin belirli görevlerine ayrı ayrı ulaşabilecek. Bu sayede hızlı bir arama yapmak için tüm işletim sistemini boot etmek yerine sadece işletim sisteminin aramalardan sorumlu bölüm çalıştırılabilecek.

Patentte belirtilen bootlader ile işletim sisteminin belirli parçalarını boot etmek de mümkün olacak. Microsoft, örnek olarak fazladan güvenlik önlemlerinin alınması gereken durumlarda işletim sisteminin güvenlik protokollerinin devreye gireceğini, diğer durumlarda bu protokollerin devre dışı kalacağını belirtti. Ayrıca kullanıcılara işletim sisteminde kullanmadıkları bölümleri elle devre dışı bırakma seçeneği de sunuluyor.
Elbette kullanıcılar elle işletim sistemleri arasında geçiş yapabilecek ve yukarıda belirtilen parça parça yüklemeleri gözardı ederek tam bir sistem yüklemesi yapabilecek. Son olarak patentte belirtildiğine göre yerel hafızada bulunması gerekmeyen işletim sistemi dosyaları, ihtiyaç duyulduğunda bulut üzerinden hafızaya indirilebilecek.
Microsoft bu projeyi hayata geçirirse, çok daha hızlı boot sürelerine ve daha uzun pil ömrüne kavuşacağımızı söyleyebiliriz. Sadece fotoğraf çekmek için bütün işletim sistemini çalıştırmak yerine, işletim sisteminin kameradan sorumlu gövdesini hızlıca çalıştırıp fotoğraf çekmek mümkün olacak. Ayrıca aynı anda bütün işletim sistemine ihtiyaç duyulmayacağı için pil ömrü de ciddi miktarda uzayacaktır.




Tam patent olmuş ! günlük kullanımda çok işe yarar.