Yaptığı yatırımlarla birlikte Ar-Ge gücünü artırmayı planlayan AMD, gün yüzüne çıkan patent başvurularına bakılırsa gizlice fotonik teknolojiler üzerinde çalışıyor. Fotonik, hem klasik hem de kuantum hesaplama sistemleri için gelişen teknolojik alanlardan biri ve AMD için yeni bir alanı temsil ediyor.
Kırmızı ekibin projelerine ait bilgiler, şirketin ilk olarak 2020’de Amerika Birleşik Devletleri’nde başvurusunu yaptığı yakın zamanda yayınlanmış bir patentten geliyor. Bu patentte AMD, fotonik tabanlı iletişim sistemlerinin doğrudan çipe bağlanmasına izin verecek bir sistemi açıklıyor.

Fotonik teknolojilerle ilgilenen şirketler, çok daha hızlı bilgi aktarım hızlarına izin veren, ayrıca enerji verimliliğini artıran ışık hızından yararlanıyor. AMD’nin ışık huzmelerini bir kalıba doğrudan bağlama konusundaki çalışması, gecikme ve güç tüketiminde iyileştirmeler sağlarken hem performansı hem de ölçeklenebilirlik oranını geliştirecek.
Bahsi geçen patentte genellikle fotonik tabanlı girdi ve çıktıları işleyebilen çipler üretmek üzere atılması gereken adımlar açıklanmış. Bu tür bir çipin üretimin tahmin edebileceğiniz gibi mevcuttakilere kıyasla çok daha farklı olacak.

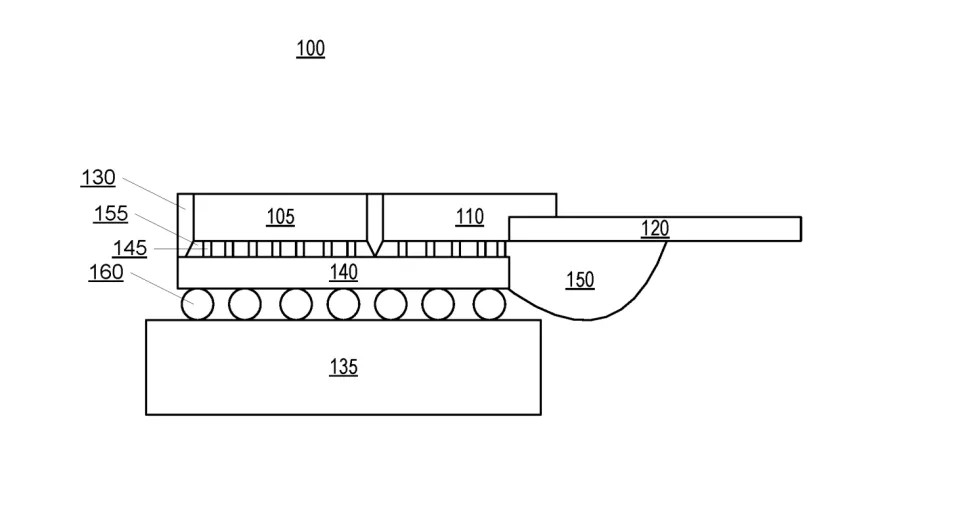
Yukarıdaki görselde gördüğünüz numaralar şu bölümleri temsil ediyor:
- 100 – yarı iletken çip paketi.
- 105 – Çip Üzerinde Sistem (SoC).
- 110 – fotonik çip.
- 120 – bağlı fiber optik kablo.
- 130 – kalıp bileşimi.
- 135 – tek wafer substratı.
- 140 – Organik Yeniden Dağıtım Katmanı (ORDL)
- 145 – SoC’yi (105) ve fotonik çipi (110) ORDL’ye (140) bağlayan mikro bağlantılar.
- 160 – standart BGA (Ball Grid Array)
Yonga üreticisinin patenti, şirketin geleneksel yarı iletkenlerin izin verdiği yoğunluk seviyelerinin ötesine geçmek için yollar aradığını gösteriyor. Son yıllarda bilgi işlem gereksinimleri hızla artarken, küçülen transistör yapıları geliştirmek bir hayli zorlaştı. Maliyetlerin de katlanarak artmasıyla birlikte, çip tasarımcıları performansı ve güç verimliliğini artırmak için daha yaratıcı yollara başvurmak zorunda kalıyor.
Bu teknolojilerin yakın zamanda son tüketiciye ulaşmasını beklemiyoruz. Ancak fotonik ve geleneksel SoC çözümlerinin ilk hibrit uygulamalarını önümüzdeki yıllarda görmek mümkün olabilir. Çip tasarımları hayata geçse bile ilk olarak büyük paraların döndüğü HPC (yüksek performanslı bilgi işlem) ortamlarında kullanılacaktır.
