Yeni Macbooklar tasarım açısından Asus’un Taichi serisini anımsatacak.
Apple’ın yeni patentlerini nerede kullanacağı merak konusu. Daha önce çıkan söylentiye göre güneş paneli ve safir kaplama ekran yeni iPhone telefonlarında kullanılacak. Bu gelişmeyi daha önce iPhone 6 Güneşle Şarj Olabilecek başlıklı haberimizde sizlerle paylaşmıştık. Şimdi ise Güneş panellerinin yeni Macbook Laptoplarda kullanılacağı söyleniyor.
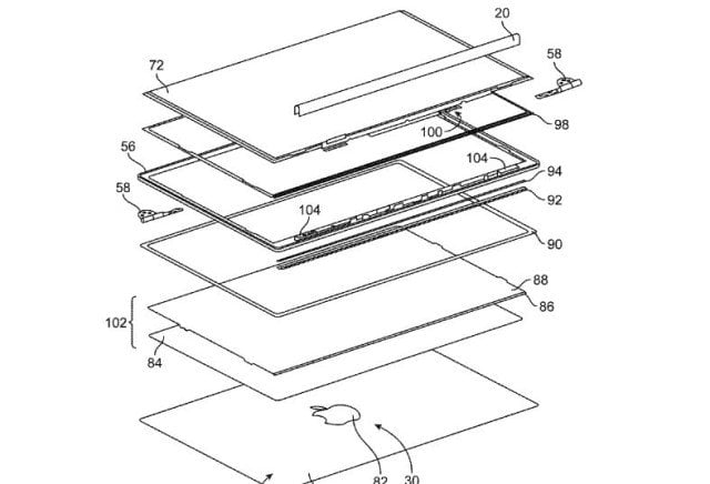
Cupertino merkezli teknoloji devi yeni Macbook Laptoplarda, çift ekran desteği verecek. Bu teknolojiyi daha önce Asus’un Taichi serisinde görmüştük. Ana ekran haricinde arka tarafında da bir ekran konulan modeller oldukça ilgi çekmişti. İş alanında kullanmak üzere tasarlanan bu Laptopların yeni modelleri de merakla bekleniyordu.

Anlaşılan o ki Apple, Asus’tan daha hızlı davranacak. Yeni Macbook Laptoplarda çift ekran olacak ve arkada bulunan ekran içerisinde güneş paneli bulunacak. Ekran altına yerleştirilecek güneş paneli sayesinde, Laptop şarj olabilecek. Ayrıca arka taraftaki panel, dokunmatik ekran desteği de sağlayacak. Yani bir nevi, Laptopa monte edilmiş bir tablet olacak.
Ancak bu tasarımın bazı sıkıntıları var. Öncelikle ergonomik tasarım düşüncesini bir kenara bırakmak gerekiyor. Kaldı ki, Apple’ın tüm ürünlerinde minimalistik ve ergonomik yapı var. Buna nasıl bir çözüm getireceklerini oldukça merak ediyorum.
Diğer sorun ise çift ekran kullanmasından kaynaklı, batarya ömrünün kısalması. Kapalı sistem ile üretilen Macbooklar, batarya ömrü olarak oldukça uzun süreler sağlıyor. Ama çift ekran konusu hakkında ne kadar yeterli olur, henüz bilemiyoruz. Elbette güneş paneli sayesinde şarj olabilecek. Bu da bizi bir başka soruya yöneltiyor: Ortaya çıkan sıcaklık sorunu nasıl çözülecek?
Şimdilik bekleyip, göreceğiz. Apple bu projeyi yüzüne gözüne bulaştırmazsa, oldukça karlı çıkacaktır.



